泛海三江JTQ-BM-925T点型可燃气体探测器
泛海三江JTQ-BM-925T点型可燃气体探测器
产品价格:¥1.60(人民币)
  • 规格:完善
  • 发货地:江苏省盐城市
  • 品牌:
  • 最小起订量:1
  • 诚信商家
    会员级别:钻石会员
    认证类型:企业认证
    企业证件:通过认证

    商铺名称:众安消防报警设备

    联系人:辅先阳(先生)

    联系手机:

    固定电话:

    企业邮箱:3748036005@qq.com

    联系地址:盐城市嘉元广场东区幢北1518室

    邮编:224000

    联系我时,请说是在智能安防网上看到的,谢谢!

    商品详情
      产品参数
      品牌全部
      3C证书编号201508181278021
      工作电源DC24V
      探测方式点型
      环境温度-10-50
      环境湿度小于等于95
      尺寸见详细说明书
      使用范围通用
      发货地江苏盐城
      包装盒装
      可售卖地全国
      类型消防配件
      型号JTQ-BM-925T

      请注意:该网站报价不是实际成交价格,具体成交价格请电议,谢谢


      泛海三江JTQ-BM-925T点型可燃气体探测器



      一,按键及声光指示

      1.指示灯:预热状态,绿色指示灯快速闪亮(约每秒2次);正常监视状态,绿色指示灯约每12秒闪烁一次(无总线信号接入时约每分钟闪烁一次);报警时,红色指示灯快闪(每秒约2次);传感器故障时,黄色指示灯约每3秒闪烁一次:上电(或复位):探测器上电(或复位)时指示灯快速双闪,之后指示灯按绿、红、黄的次序闪亮,并伴有蜂鸣器提示声。

      2.蜂鸣器:报警时,蜂鸣器约每秒鸣叫2次;报故障时,蜂鸣器约每3秒鸣叫1次。

      3.自检键:按下自检键,则指示灯循环闪亮(次序为绿、红、黄),并伴有蜂鸣器提示声。


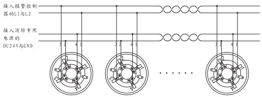
      二,接线方式:


      说明:将DZ-925T型探测器底座上装上编好地址码的可编码型可燃性气体探测器,但各火灾探测器及接入同一回路中的其它编码型火灾报警触发器件、编码型模块类产品及智能型声光警报器不能具有相同编码地址本设备也可不接入总线回路独立工作,此时本设备不需编码,不需连接信号线,只需连接集中供电线路

      布线要求:建议24V电源线选用截面积》2.5mm,的BV型线;总线可选用截面积》1.0 mm的RVS型阻燃铜芯线口。


      泛海三江JTQ-BM-925T点型可燃气体探测器


      三,安装位置:


      说明:

      探测器(天然气)

      ? 探测器的安装位置应根据实际情况具体分析后才能决定,但应遵循以下原则:

      ? 1)探测器应与灶具安装在同一房间内;

      ? 2)将探测器底座安装在距离燃气灶具或气源水平距离1. 5米至4米之间;

      ? 3)根据气源性质,选择探测器妥装垂直方向高度

      ? 检测天然气:妥装在距燃气源或灶具的垂直距离大于等于0. 5米、距天花板0. 3米以内处(因为此燃气比重比空气轻)。


      泛海三江JTQ-BM-925T点型可燃气体探测器


      四,使用注意事项

      1.本产品不得在含有腐蚀性气体(如氯气等)的环境中存放或使用;

      2.不要让探测器处于装修环境中,请等使用场所的装修完全结束后,再将探测器安装到底座上;

      3.请不要自行使用未标定浓度的气体检验本产品,超高浓度气体,不仅影响探测器的寿命,而且还会危害人体健康;斗.请避免长时间在安装有可燃气体探测器的场所大量饮酒或大量使用香水、发胶、摩丝、杀虫剂、汽油、香蕉水、油漆、酒精、稀释剂等挥发性有机物,以免影响探测器的正常监控;

      5.不要随意切断探测器电源;

      6.长期未通电的探测器需通电恢复5小时以上才能正常应用;

      7.为了您的安全,请您联络经销商/服务商/制造商,按条款规定的气样及浓度进行一年一次的定期检验。


    0571-87774297