150E-LR型渣浆泵,轻型渣浆泵,输送高浓度低磨蚀性渣浆
150E-LR型渣浆泵,轻型渣浆泵,输送高浓度低磨蚀性渣浆
产品价格:¥6666(人民币)
  • 规格:150E-LR
  • 发货地:河北石家庄
  • 品牌:
  • 最小起订量:1台
  • 诚信商家
    会员级别:钻石会员
    认证类型:企业认证
    企业证件:通过认证

    商铺名称:石家庄石泵渣浆泵业有限公司

    联系人:李先生(先生)

    联系手机:

    固定电话:

    企业邮箱:sale@shibengzjb.com

    联系地址:石家庄市桥西区槐安西路260号

    邮编:50000

    联系我时,请说是在智能安防网上看到的,谢谢!

    商品详情

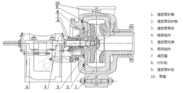
      150E-LR渣浆泵结构:L型轻型渣浆泵为悬臂、卧式双壳轴向吸入离心渣浆泵。泵的吐出口位置可根据需要按45℃间隔,旋转八个不同的角度安装使用。
      150E-LR渣浆泵材质:L型轻型渣浆泵的泵体具有可更换的耐磨金属内衬,叶轮、护套、护板等过流部件均采用耐磨金属。
      150E-LR渣浆泵使用:与重型渣浆泵相比,该泵转速高,体积小,重量轻,适用于输送细颗粒,低浓度的渣浆或腐蚀性渣浆。输送浆体的重量浓度一般不超过30%,亦可用于输送高浓度低磨蚀性渣浆。
      150E-LR密封形式:L型泵的轴封可采用填料密封、副叶轮密封、填料加副叶轮密封、机械密封等型式。
      150E-LR传动型式:DC直联传动,CR平行皮带传动,ZVZ上下皮带传动,CV立式皮带传动等型式。

      150E-LR渣浆泵结构图:



      150E-LR渣浆泵参数表:

      型号 配带功率P(KW) 流量Q(m3/h) 扬程H(m) 转速n(r/min) 最高效率η% 汽蚀余量NPSH(m) 叶轮直径 D(mm) 重量( kg)
      20A-L 0.75-7.5 1.8-9 7-35.5 1400-3000 40 2.5-3 152 46
      50B-L 2.2-15 11.5-65 8.5-46 1400-2800 62 2.5-5.5 190 90
      50B-LR 2.2-15 9-61 3-35 1200-2600 48 2.75-4.5 190 76
      75C-L 3-30 21.6-136.8 7-47 900-2400 57 3-6 229 200
      75C-LR 3-30 28-155 8-43 1100-2300 60 3-5 229 170
      100D-L 5.5-60 46.8-324 7-48 800-1600 65 2.5-5.5 305 370
      100D-LR 5.5-60 54-288 12-38 800-1500 65 2.5-6 305 320
      150E-L 15-120 126-568 10-51 800-1500 60 2.5-6 381 750
      150E-LR 15-120 72-576 4-38 800-1300 65 2.5-5.5 381
      300S-L 45-560 568-2538 8-60 400-950 78 3-10 653
      300S-LR 45-560 432-1900 7-41 400-800 81 3-8 653
      350S-L 55-560 650-2800 10-59 400-840 81 3-10 736
      350S-LR 55-560 720-2844 10-41 400-700 86 3-7 736







    0571-87774297